忽悠大师--UCC国际洗衣,圈套使用界的佼佼者

查看数: 20964 | 评论数: 1 | 收藏 0
关灯 | 提示:支持键盘翻页<-左 右->
    组图打开中,请稍候......
发布时间: 2019-12-3 17:50

正文摘要:

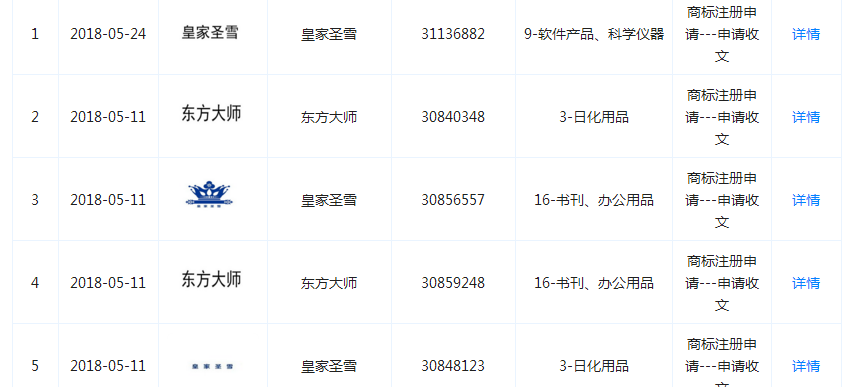
现如今的UCC国际洗衣除了拥有出了名的虚假宣传,同时也拥有多样的圈套让加盟商摸不到头脑,然后就稀里糊涂的上了UCC这条贼船。成为了名副其实的忽悠大师,下面的案例仅仅是UCC圈套中的冰山一角 1、与UCC公司相关联 ...

回复

alan.ling.20 发表于 2019-12-4 08:37
我们比较穷,都是自己洗衣服
发布主题 上个主题 下个主题 快速回复 收藏帖子 返回列表 我要提意见!
© 2022-2023 焦作信息港山阳论坛 版权所有  豫ICP备19003319号-5 豫公网安备豫公网安备 41080202000135号   
快速回复 返回顶部 返回列表