出事了!焦作农发行原行长受贿299.13万元!被判7年!

查看数: 6954 | 评论数: 12 | 收藏 1
关灯 | 提示:支持键盘翻页<-左 右->
    组图打开中,请稍候......
发布时间: 2018-7-11 10:17

正文摘要:

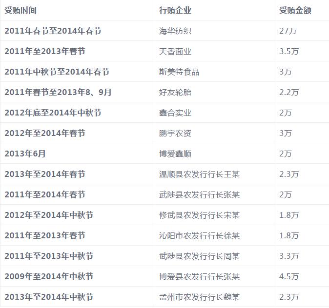
焦作农发行原行长许诺项目换高息 左手借钱右手放贷套利520万元 农发行一正处级分行行长以职权做背书,以投资为幌子收取他人高额投资回报,月息高达10%,在2010年至2014年的时间里存在收受他人现金、授意贷款企业支付 ...

回复

新闻1+1 发表于 2018-7-20 14:36
我想知道她在农业银行是如何上去的!又如何发展到农业发展银行的!农业银行和农发行的朋友给大家讲一讲
htm 发表于 2018-7-20 13:38
1000万元,其中绝大多数则来自于成冬梅向贷款关联企业索要的无息贷款。
这不是犯罪吗?没看到法院对此有什么说法。

补充内容 (2018-7-20 13:40):
法院认为,成冬梅收受的520万元理财利息中,收受超出正常理财产品的收益部分的225.53万元被认定为受贿罪。
其余的300万元属于犯罪?属于什么?

补充内容 (2018-7-20 13:41):
那些送钱的企业和个人应该怎么处理?
杨老师96 发表于 2018-7-13 18:09
不知道得罪哪位神仙了,不然,就这些事,很正常
jiaozuo期盼 发表于 2018-7-13 16:15
清官最好
huangxiexie 发表于 2018-7-12 13:59
小喽喽啊~
焦作人的心声 发表于 2018-7-12 07:19
清官最好
太极一兵 发表于 2018-7-12 06:59
钱来的易
1225 发表于 2018-7-11 15:07
礼尚往来   
小小情歌 发表于 2018-7-11 13:01
玩的真嗨皮!
发布主题 上个主题 下个主题 快速回复 收藏帖子 返回列表 我要提意见!
© 2022-2023 焦作信息港山阳论坛 版权所有  豫ICP备19003319号-5 豫公网安备豫公网安备 41080202000135号   
快速回复 返回顶部 返回列表